TIF-100钛蓝宝石飞秒激光器工作原理简介
掺钛蓝宝石(Ti:sapphire)是一种固态激光介质,能够在较宽的近红外(NIR)波长范围内进行可调谐激光操作。由于在光谱的蓝色和绿色区域具有宽的吸收带,激光过程中的能量可由标准连续波氩离子激光器或532nm高功率二极管泵浦连续固体激光器提供。 通过选择合适的光学器件,锁模钛宝石激光器可以覆盖690nm-1080nm的波长范围,脉冲宽度小于10fs。

在CW连续激光泵浦源作用下,采用克尔透镜锁模(KLM)机制,使一定排列方式的固态钛宝石激光器产生连续的飞秒脉冲序列。KLM机制将自聚焦效应和光阑效应结合在一起,使得激光产生的光脉冲的持续时间尽可能短。自聚焦效应导致腔模的空间强度分布发生微小变化,这取决于激光器(钛宝石晶体本身)活性介质中光脉冲的瞬时功率。然后,通过仔细匹配腔模的空间重叠和有源介质中泵浦光的焦点区域(“软孔径KLM”),并另外引入靠近腔体的一个端镜的腔内孔径(‘硬孔径KLM’),可以产生功率相关的腔损耗。
由于非共振克尔非线性的准瞬时响应,而钛宝石的增益弛豫时间较低,循环激光脉冲每次通过活性介质时都会产生快速调制。这导致了有效的被动锁模操作,结合200nm宽的钛蓝宝石材料增益谱,支持形成持续时间小于10 fs的脉冲。脉冲宽度的精确值取决于腔内自相位调制和腔内负群延迟色散之间的临界相互作用。
TIF-100简介:
Avesta公司提供基于掺钛蓝宝石的飞秒振荡器TIF系列,可选不同泵浦功率,最高输出3W/800nm,保证提供给用户的激光器经过完全测试,适用于稳定的连续克尔透镜锁模操作。
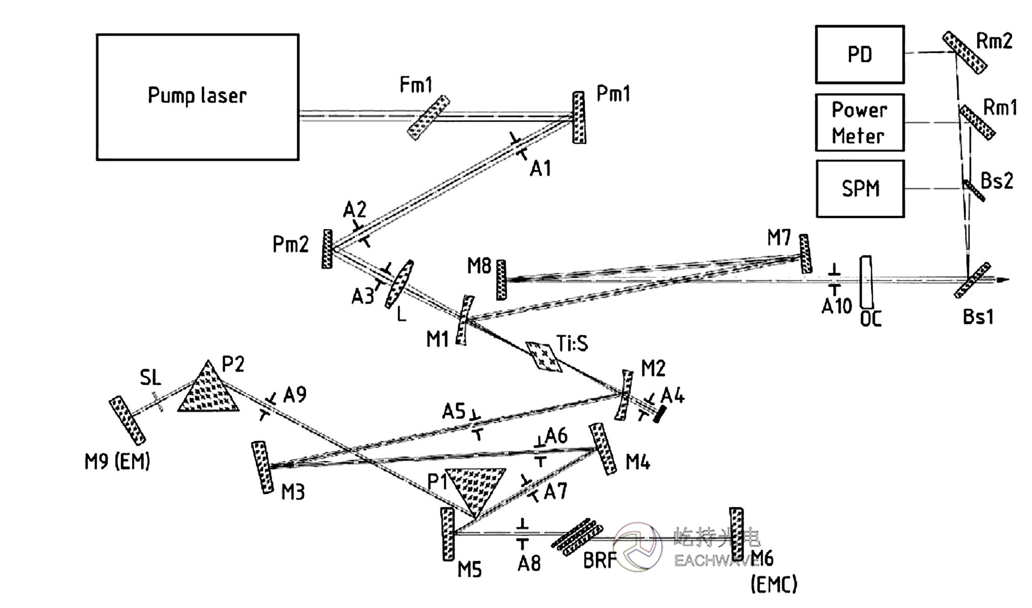
TIF-100激光器是TIF家族中最常用的系列之一,典型脉宽>100fs。TiF-100激光头集成了钛蓝宝石晶体棒和相应光学元件,构成振荡器腔。基本激光装置包括抽运光束镜、折叠腔镜、抽运光束聚焦透镜、一对与激光棒对准的凹球面镜、一个输出耦合器(OC)、一组用于色散补偿的棱镜、一个作为光谱调谐元件的狭缝,辅助布线镜系统和可选的内置光谱仪。光学头单图如图所示:

TiF-100激光头连接端口包括:冷却水输入/输出端口、直流电源输入口、数据采集USB端口、脉冲序列监测SMA射频输出端口,以及两个用于用惰性气体/干燥空气吹扫连接端口。所有这些连接器端口都可以在激光光学头的背面找到。
TiF-100内置光谱仪,可用于获取激光器输出的实时光谱信息,直接显示于配套软件界面。激光器可通过USB端口连接PC,在TIF专用软件上进行远程监测与操控。激光头内置的电子模块包括光谱数据解释硬件、步进电机控制器、电子锁模启动器方案(启动器)和配备USB接口的微处理器单元等。
TIF泵浦激光器:
由于钛宝石激光介质在可见光的蓝、绿部分具有很宽的吸收带,因此可以用多种光源进行光泵浦,包括连续氩离子激光器、高功率脉冲和连续绿光DPSS激光器以及激光二极管。保证钛宝石泵浦激光器的输出光束质量非常重要:其横模必须尽可能接近TEM00。
抽运钛宝石激光器最合适的选择是采用二极管抽运倍频固体Nd3+激光器,工作在TEM00横模区,输出功率在3-10W之间。这类激光器结构紧凑,可以集成到钛蓝宝石系统中,能够在近衍射极限、高稳定的光束中提供大于3W的输出功率。
连续波泵浦条件下,激光作用的一个重要条件是钛宝石发光超过腔往返损耗和非饱和活性介质增益。该增益是通过对一个精心选择尺寸和形状的活性介质(激光晶体)中的激光跃迁态的布局进行反转来获得的。 高反转密度是由于蓝宝石晶格中的Ti3+离子吸收泵浦辐射的结果。钛蓝宝石发光面临的总损失(增益降低)来自反射损失(镜面涂层和抛光表面)和钛蓝宝石晶体本身的残余吸收。后者与晶体长度成正比,随Ti3+浓度变化,一般随浓度增加而增加。
与染料激光器的情况不同,钛宝石激光器的泵浦光束必须与腔模在激光晶体内相对较长的距离上共线,以使KLM机制足够强大,以支持飞秒操作。然而,使用相对低功率的DPSS泵浦激光器不可能在晶体的整个孔径上实现足够高的粒子数反转密度。为了避免这个问题,需要聚焦泵浦辐射,使其与钛宝石激光器的腔模在空间上重叠(这种技术称为纵向泵浦)。剩余的泵浦光随后通过第二腔聚焦镜倾倒。默认情况下,TiF-100光学头内安装了一个翻转镜,使入射的泵浦激光束能够在TiF激光头外进行布线。可安装一个可选的分束器来代替翻转镜,以便输出一小部分(3%)的泵浦光,该分束器可用于激光头外部的连续泵浦光功率和位置监控。
激光器的光学头单元具有内置PIN光电二极管,用于监测激光器的脉冲序列,并为外部设备提供同步信号。专用SMA接口位于光学头主体的后侧。光电二极管信号应仅馈送至具有50Ohm负载输入和至少300 MHz模拟带宽的仪器(例如示波器),以正确解析激光输出的脉冲结构。TIF-100激光器的典型光电探测器输出信号见附录A。
谐振腔设计:
TiF-100对谐振腔布局进行了建模和优化,使其在最小空间内达到最佳性能。最终的设计(见下图)具有Z形、像散补偿腔,包括两个球形和几个平面折叠镜,包括端镜(EM)、输出耦合器(OC)镜、钛蓝宝石晶体(Ti:S)、泵浦辐射聚焦透镜(L)和双棱镜脉冲压缩器,包括棱镜P1、P2和狭缝(SL)。
默认情况下,TiF-100激光器在锁模工作模式下波长可调。它可以配备一个专用的波长选择元件,位于激光器的辅助连续波腔臂中,允许其在连续波模式下的波长调谐能力。在后一种情况下,辅助腔臂(见图,P1和EMC元件之间)使用双折射Lyot滤波器(图中的BRF)作为波长调谐元件。该滤光片由多个双折射材料板组成,这些板彼此以特定方式定向,使得旋转滤光片组件转化为扫描腔模的中心波长。滤波器配有伺服电机,伺服电机可通过TiF-100软件进行控制,从而实现激光器在锁模和连续波模式下的波长调谐。有关操作模式和CW模式波长调谐切换的更多信息,请参TIF-100手册。
激光器的锁模结构是通过一对棱镜和一个光学狭缝(位于激光器主腔中)进行波长调谐的(见图)。这些元件在腔中提供了一个区域,在该区域钛蓝宝石发射的所有光谱成分在空间上扩散,并且引入了与波长相关的损耗。因此,钛宝石激光辐射的中心波长可以通过棱镜和狭缝在水平面上的联合运动来调节。这种简单而直接的方法允许在钛宝石增益光谱的大部分范围内,在锁模模式下对激光器进行连续波长调谐,这受到腔镜光谱特性的限制。
TIF-100内部光路局部布局图
Fm1–用于引导泵浦激光辐射的翻转镜(可选)
Pm1,Pm2—抽运光束路由镜
L—抽运聚焦透镜
M1,M2—球面二向色性镜
M#–平腔折叠镜
Ti:S–Ti:Sapphire晶体棒
OC–输出耦合镜
P1,P2–棱镜
SL–狭缝
EM–飞秒腔端镜
EMC–CW腔端镜
BRF–双折射Lyot滤波器
BS1、BS2–分束器窗片
Rm1、Rm2–辅助布线镜
SPM–光谱仪;
PD–光电二极管
TiF-100的波长调谐能力取决于所用泵浦激光器的额定功率、与泵浦激光功率匹配的OC镜以及其他几个因素。TiF-100的典型中心波长调谐能力在720–950 nm范围内。
TiF-100激光器可选配一组额外的反射镜,以支持波长高达970 nm的激光振荡和锁模。附加的长波反射镜组可以在工厂预先安装,也可以由最终用户现场安装。
狭缝的开口宽度也可以调整,从而影响带宽,从而影响激光脉冲的时间宽度。脉冲宽度的调谐特性取决于增益介质材料本身的特性,以及激光腔的净群速度色散(GVD)等腔参数。虽然不可能方便地修改钛蓝宝石材料以改变其产生的脉冲宽度,但可以整体调整谐振器的净GVD。
激光腔的光学元件引入正GVD,从而引起时域脉冲展宽。由于短脉冲与介质非线性折射率相互作用的结果,钛宝石晶体中的自相位调制使脉冲进一步展宽。为了在激光输出端获得稳定的脉冲序列,必须对这两种效应进行补偿。这可以通过引入负GVD来实现,而负GVD又可以通过使用一组棱镜来实现。这使得激光器能够在激光材料增益光谱的最佳部分产生<70fs、近变换限脉冲。
参考链接:TiF-100钛宝石飞秒激光器Ti:Sapphire固态飞秒激光器